一家在电气行业享有盛誉的企业,凭借多年的技术积累和市场占有率,稳定居行业领军地位。其产品广泛涉及智能电网、电力自动化、新能源等领域,质量和可靠性是该企业立足市场的核心竞争力。
为应对日益严格的产品质量要求,该企业的研发团队决定强化内部测试能力,为此特别引入了DHT®(香港精准特网)的冷热冲击试验箱,旨在评估产品在剧烈温度变化条件下的耐久性和可靠性。

一、 电力控制模块的冷热冲击测试
1.测试目的:评估电力控制模块在极端温度变化下的性能稳定性及可靠性。
2.试验流程:
l 初始检测:对控制模块的电气性能和外观进行记录,作为基准数据。
l 冷热冲击:
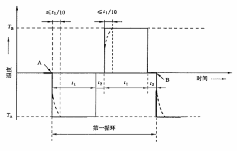
n 在设定的低温(-40°C)和高温(80°C)条件下,每个温度点持续保持30分钟。
n 完成从低温到高温,再从高温回到低温的一个完整循环,此过程重复进行10次。
l 终态评估:测试结束后,再次检测模块的电气特性、外观及功能表现,记录所有可能的变化或损伤。
l 执行标准:GB/T 2423.22-2012环境试验 第2部分:试验方法 试验N:温度变化

二、储能系统电池模块的热循环试验
1.测试目的:考察电池模块在频繁温度变换下的充放电效能与安全性能。
2.试验流程:
l 样品预处理:对电池进行检查,确保其处于正常状态。
l 温度冲击循环:
n 在-20°C至70°C的温度区间内,每种温度保持1小时,执行5次循环。
n 每次温度转换后即刻进行充放电操作,监测电压、容量及内阻的变化。
l 安全性检查:测试完成后,仔细检查电池是否存在形变、泄露等问题。
l 执行标准:IEC 60086-4:2019 原电池 第4部分:锂电池的安全性

三、变电站通讯设备的耐候性测试
1.测试目标:确保变电站通讯设备在温度急剧变化的环境中保持稳定连接和通讯性能。
2.试验流程:
l 初始状态评估:记录通讯设备的信号传输速率、稳定性等性能。
l 温度变化测试:
n 将通讯设备放入试验箱,高温阶段设定为70°C,低温设定为-30°C,每个温度持续30分钟,进行15次循环。
n 在每次高温和低温转换后,对设备进行数据传输测试,确保在不同温度下信号稳定性不受影响。
l 终态检测:测试完毕后,再次测量设备的通信效率,确认数据传输质量无明显下降。
l 执行标准: GB/T 5170.1-2016 电工电子产品环境试验设备检验方法

自从采用DHT®(香港精准特网)的冷热冲击试验箱后,该企业的研发团队给予了高度评价,认为设备不仅运行稳定,而且提供了准确可靠的测试结果。借助这些严格的温度冲击测试,企业显著提高了对产品在极端条件下的性能理解,从而巩固并加强了自身在电气行业的领先地位。

